Струйные аппараты: продвинутый уровень

Разберем принципиальную схему, термодинамические основы, классификацию, методы расчета и конструкции струйных аппаратов

Ionium.ru Материалы Струйные аппараты: продвинутый уровень

Принципиальная схема и термодинамика струйного аппарата

Струйными аппаратами называют устройства, в проточных каналах которых происходит смешение двух газовых струй, сопровождающееся увеличением полного давления низконапорного (пассивного) потока за счет энергии другого высоконапорного (активного) потока. В процессе смешения энергия от одного потока передается к другому, также образуются скачки уплотнения в случаях сверхзвуковой скорости течения хотя бы одной из смешиваемых струй. В результате полное давление смеси становится больше полного давления пассивного газа, но меньше полного давления активного газа [1, стр. 383].

Принцип работы газового эжектора можно показать на расчетной схеме, представленной на рисунке 1.1 [2, стр. 339]:

Расчетная схема струйного аппарата (а) и изменение статического давления вдоль оси струйного аппарата (б)

Рисунок 1.1 – Расчетная схема струйного аппарата (а) и изменение статического давления вдоль оси струйного аппарата (б):

I – рабочее сопло; II – приемная камера; III – камера смешения; IV – диффузор

При описании процесса работы газового эжектора применяются следующие обозначения. В струйный аппарат поступает поток рабочего газа под высоким давлением \(p_р\) при температуре \(T_р\). За счет энергии рабочего потока происходит сжатие инжектируемого потока низкого давления \(p_н\), имеющего температуру \(T_н\). При этом из аппарата выходит смешанный поток, имеющий некоторое среднее давление \(p_с\) и температуру \(T_с\). Повышение давление потока инжектируемой среды от \(p_н\) до \(p_с\) осуществляется с одновременным увеличением его температуры от \(T_н\) до \(T_с\).

Рабочий газ с давлением \(p_р\) и скоростью \(w_р\) подводится к соплу, имеющему расширяющуюся форму, поскольку степень снижения давления газа в сопле

$$p_р/p_н>\frac{1}{p_{кр}}$$

где: \(p_{кр}\)– критическое давление, при котором достигается местная скорость звука.

В результате расширения газа давление в сопле падает с \(p_р\) до \(p_{р1}=p_н\), а скорость увеличивается от \(w_р\) до \(w_{р1}\). Скорость газа \(w_{р1}\) в сечении \(f_{р1}\) на выходе из сопла больше критической скорости \(a_{кр}\),  достигаемой в потоке в критическом сечении сопла \(f_{кр}\). Рабочий газ, выходящий из сопла в приемную камеру со скоростью \(w_{р1}\), подсасывает из приемной камеры газ, который подводится в приемную камеру с давлением \(p_н\). По мере удаления от сопла массовый расход движущегося потока газа непрерывно возрастает за счет подсасывания инжектируемой среды, а поперечное сечение движущегося потока увеличивается.

На некотором расстоянии от выходного сечения сопла поток, движущийся по направлению к камере смешения, заполняет полностью все сечение \(f_4\) приемной камеры. Массовый расход движущегося потока в этом сечении составляет

$$(G_р+G_н)$$

где: \(G_р\) – расход рабочего газа; \(G_н\) – расход инжектируемого газа.

Профиль скоростей в этом сечении имеет большую неравномерность по радиусу. На границе струи скорость газа мала, а на оси она близка к скорости истечения \(w_р\). Сечение, занимаемое потоком, при дальнейшем его движении определяется профилем струйного аппарата, так как любое сечение эжектора, расположенное правее сечения \(f_4\), заполнено движущимся потоком. Сечение \(f_4\) является конечным сечением камеры смешения. В большинстве случаев камера смешения имеет цилиндрическую форму с сечением\(f_3 < f_4\), и движущийся поток проходит через ее входной участок, на котором его сечение уменьшается с \(f_4\) до \(f_3\). При этом скорость потока на участке увеличивается, а давление падает. Во входном сечении 2-2 камеры смешения давление потока равно \(p_2\).

Процесс выравнивания скоростей в камере смешения струйных аппаратов сопровождается изменением давления. Поскольку цилиндрическая камера смешения в отличие от камер другого профиля позволяет обеспечить большую степень восстановления давления [2, стр. 339], в струйных аппаратах она получила широкое применение. В такой камере выравнивание скоростей сопровождается повышением давления от \(p_2\) на входе до \(p_3\) на выходе из нее. После этого поток поступает в диффузор, в котором его давление возрастает от \(p_3\) до \(p_с\), а скорость уменьшается с \(w_3\) до \(w_с\). При давлении \(p_с\) смешанный поток со скоростью \(w_с\) выходит из струйного аппарата.

Согласно схеме процесса работы струйного аппарата, на диаграмме \(i-s\), представленной на рисунке 1.2, точка A определяет состояние рабочего потока перед аппаратом, точка D – состояние инжектируемого потока. Состояние рабочего и инжектируемого потоков в конце процесса расширения (на входном участке камеры смешения) характеризуется точками R и M соответственно. В результате превращения части энергии потока

$$(Δi_{sр}+Δ_{sк})\cdot φ_1^2$$

в кинетическую энергию скорость рабочего потока во входном сечении цилиндрической камеры смешения достигает \(w_{р2}\). Скоростной коэффициент \(φ_1\) учитывает потери при расширении рабочего потока; величину \(φ_1^2\) можно рассматривать как изоэнтропный КПД процесса расширения.

На входном участке камеры смешения инжектируемая среда расширяется от давления \(p_н\) до \(p_2\), при этом вследствие превращения энергии \(Δ_{sк} φ_1^4\) в кинетическую скорость инжектируемого потока достигает в том же сечении значения \(w_{н2}\). В камере смешения происходят выравнивание скоростей и повышение давления перемешиваемых потоков. Состояние потока на выходе из камеры смешения определяется точкой E. При этом поток имеет некоторую среднюю скорость \(w_3\) и статическое давление \(p_3\). Затем поток поступает в диффузор, в котором происходит преобразование кинетической энергии в потенциальную и тепловую энергии. Статическое давление потока становится равно \(p_с\), а его энтальпия – \(i_с\).

Процесс работы струйного аппарата на диаграмме
Рисунок 1.2. Процесс работы струйного аппарата на диаграмме \(i-s\)

Положение точки конца процесса смешения в идеальном аппарате выводится из первого закона термодинамики и закона сохранения энергии. Наряду с этим вводится наиболее значимый параметр струйного аппарата – коэффициент инжекции. Данный параметр определяет отношение расходов инжектируемого и рабочего потоков, а также является основным показателем, характеризующим эффективность струйного аппарата.

Для анализа эффективности струйных аппаратов применяется КПД, представляющий собой отношение эксергии, полученной инжектируемым потоком, к эксергии, затраченной рабочим потоком [3, стр. 26]:

$$\eta =\frac{u\cdot(e_с-e_н)}{e_р-e_с}$$

где: \(e_р\), \(e_н\), \(e_с\) – удельные эксергии рабочего, инжектируемого и сжатого потоков; \(u\) - коэффициент инжекции.

Под удельной эксергией в данном случае понимают работу, которую можно получить с помощью одной массовой единицы рабочего тела, например 1 кг газа, при обратимом изменении параметров торможения рабочего тела до параметров окружающей среды. Удельная эксергия определяется по формуле:

$$e=i_0-i_{о.с}-T_{о.с.}\cdot (s_0-s_{о.с.})$$

или

$$e=c_p\cdot (T_0-T_{о.с.})(1-T_{о.с.}/T_{ср})+R\cdot T_{о.с.}\cdot ln⁡(p_0/p_{о.с.})$$

где: \(i_0\), \(T_0\), \(p_0\), \(s_0\) – удельная энтальпия, температура, давление, удельная энтропия рабочего тела в изоэнтропно заторможенном состоянии соответственно;

\(i_{о.с.}\), \(T_{о.с.}\),\(p_{о.с.}\), \(s_{о.с.}\) – удельная энтальпия, температура, давление, удельная энтропия рабочего тела в состояния равновесия с окружающей средой соответственно;

\(T_{ср}\) – средняя логарифмическая температура между температурой рабочего тела в изоэнтропно заторможенном состоянии и температурой окружающей среды.

Из анализа формулы для КПД струйного аппарата с учетом выражения для эксергии следует, что процесс расчета эжектора может быть проведен для конкретно заданного значения коэффициента инжекции с определением энтальпии и давления потока после эжектора или при заданном давлении сжатия с определением коэффициента инжекции. Метод графического расчета эжекторов по диаграмме представлен в [3, стр. 27]. Альтернативное определение КПД, предложенное В.М. Раммом для газоструйных эжекторов приведено в [4, стр. 36].

На практике широкое распространение получили многоступенчатые струйные установки, в которых аппараты включаются последовательно или параллельно. При последовательной схеме включения аппаратов эквивалентный коэффициент инжекции определяется как:

$$u=G_н^I/ΣG_р$$

т.е. как отношение расхода инжектируемой среды первой (нижней) ступени к суммарному расходу рабочей среды во всех ступенях установки. Поэтому чем больше суммарный коэффициент инжекции \(u\), тем меньше расходуется рабочей среды \(ΣG_р\) на повышение давления заданного количества инжектируемой среды \(G_н^I\) от давления \(p_н^I\) до давления \(p_с\).

Дополнительно рассмотрим метод расчета производства энтропии в струйном аппарате и минимально необходимые удельные затраты энергии для компенсации ее производства. Обозначения параметров потоков принимаются в соответствии со схемой на рисунке 1.1.

Производство энтропии:

$$\Delta s'_{эж}=s_с\cdot G_{c} - s_н\cdot G_{н} - s_р\cdot G_{р}$$

где:   \(s_с\), \(s_н\), \(s_р\)– энтропии потока на выходе из аппарата, инжектируемого потока низкого давления и потока высокого давления соответственно;

\(G_{c}\), \(G_{н}\), \(G_{р}\) – расходы потока на выходе из аппарата, инжектируемого потока низкого давления и потока высокого давления соответственно.

Минимальные затраты работы на компенсацию производства энтропии:

$$l'_{эж} = T_{о.с.}\cdot \Delta s'_{эж}$$

При необходимости расходы могут быть приведены к относительному виду для оценки величин производства энтропии и затрат работы на единицу расхода продукционного потока.

Классификация струйных аппаратов

Наиболее грамотный подход к классификации струйных аппаратов, учитывающий существо происходящих в них процессах, представлен в [3, стр. 9]. Процессы, характерные для всех без исключения струйных аппаратов, описываются тремя законами:

  • Закон сохранения энергии:
$$i_р+u\cdot i_н=(1+u)\cdot i_с$$

где:\(i_р\), \(i_н\), \(i_с\) – энтальпии рабочего, инжектируемого и смешанного потоков; \(u=G_н/G_р\) – коэффициент инжекции, т.е. отношение массового расхода инжектируемого потока к массовому расходу рабочего потока.

  • Закон сохранения массы:
$$G_с=G_р+G_н$$

где: \(G_р\), \(G_н\), \(G_с\) – массовые расходы рабочего, инжектируемого и смешанного потока.

  • Закон сохранения импульса:
$$I_{р1}+I_{н1}=\int_{f_1}^{f_3}p\cdot df + I_{c3}$$

где: \(I_{р1}\), \(I_{н1}\) – импульс рабочего и инжектируемого потоков во входном сечении камеры смешения;

\(I_{с3}\) – импульс смешанного потока в выходном сечении камеры смешения;

\(\int_{f_1}^{f_3}p\cdot df\) – интеграл импульса по боковой поверхности камеры смешения между сечениями, проходящими через начало (\(f_1\)) и конец (\(f_3\)) камеры смешения.

В цилиндрической камере

$$\int_{f_1}^{f_3}p\cdot df = 0$$

Импульс потока в любом сечении:

$$I=G\cdot w+p\cdot f$$

где: \(G\) – массовый расход; \(w\) – скорость; \(p\) – давление; \(f\) – сечение.

В зависимости от свойств и условий взаимодействия рабочего и инжектируемого потоков в струйных аппаратах возникает ряд дополнительных процессов, которые специфичны только для аппаратов определенного типа. Эти процессы существенно отражаются в работе аппаратов данного типа и должны учитываться при их расчете.

Далее в разделе подробно рассматривается классификация струйных аппаратов в соответствии с содержанием таблицы ниже.

Таблица 2.1 Классификация струйных аппаратов
Группа аппаратов Состояние взаимодействующих сред Свойства взаимодействующих сред Степень сжатия, создаваемая аппаратом Аппараты
Равнофазные Агрегатное состояние рабочей и инжектируемой среды одинаково Упругие среды

1,2-2,5

>2,5

< 1,2

Газо(паро) струйные компрессоры

Газо(паро) струйные эжекторы

Газо(паро) струйные инжекторы

Неупругие среды Любая Струйные насосы
Разнофазные Агрегатное состояние рабочей и инжектируемой сред неодинаково

Рабочая – упругая,

инжектируемая – неупругая

Любая Струйные аппараты для пневмотранспорта

Рабочая – неупругая,

инжектируемая – упругая

Любая Водовоздушные эжекторы
Рабочая и инжектируемая – неупругие Любая Струйные аппараты для гидротранспорта
Изменяющейся фазности Агрегатное состояние одной из сред изменяется

Рабочая – упругая,

инжектируемая – неупругая

Любая Пароводяные инжекторы

Рабочая – неупругая,

инжектируемая – упругая

Любая Пароводяные смешивающие подогреватели

Классификация по агрегатному состоянию потоков

Процессы, происходящие в струйных аппаратах, зависят в первую очередь от агрегатного состояния взаимодействующих сред. В связи с этим можно выделить следующие три группы: (1) аппараты, в которых агрегатное состояние рабочей и инжектируемой сред одинаково; (2) аппараты, в которых рабочий и инжектируемый потоки находятся в разных агрегатных состояниях, не изменяющихся в процессе смешения этих потоков; (3) аппараты с изменяющимся агрегатным состоянием сред. В этих аппаратах рабочий и инжектируемый потоки до смешения находятся в разных фазах, а после смешения – в одной фазе, т.е. в процессе смешения изменяется агрегатное состояние одного из потоков.

К (1) первой группе относится газо-(паро-)струйные компрессоры, эжекторы и инжекторы, а также струйные насосы.

Ко (2) второй группе относятся струйные аппараты для пневмотранспорта, воздушные эжекторы и струйные аппараты для гидротранспорта.

К (3) третьей группе относятся пароводяные инжекторы и струйные подогреватели.

Классификация по упругим свойствам взаимодействующих сред

Условия работы струйных аппаратов зависят также от упругих свойств взаимодействующих сред. Под упругими свойствами ли сжимаемостью понимается значительное изменение удельного объема среды при изменении ее давления. На практике применяются струйные аппараты, в которых: (а) обе среды (рабочая и инжектируемая) упруги; (б) одна из сред упругая; (в) обе среды неупругие.

Классификация по степени сжатия

Работа равнофазных аппаратов с упругими средами зависит в значительной мере от степени сжатия инжектируемой среды, а также от степени расширения рабочей среды. Под степенью сжатия в данном случае понимается отношение давления, смешанного и инжектируемого потоков, а под степенью расширения (степенью снижения давления) – отношение давлений рабочего и инжектируемого потоков.

По степени сжатия и степени расширения равнофазные струйные аппараты для упругих сред можно классифицировать следующим образом:

  • аппараты с большой степенью расширения и умеренной степенью сжатия. Такие аппараты называют газоструйными или пароструйными компрессорами. Рабочей и инжектируемой средой в этих аппаратах является пар и газ. Степень расширения рабочего потока в компрессорах велика. Отношение давлений рабочего и инжектируемого потоков перед компрессором во много раз больше критического отношения давлений. Степень сжатия, развиваемая такими аппаратами, обычно находится в пределах \(2,5\geq p_с/p_н\geq 1,2\). К ним относятся аппараты повышения давления отбросного пара, газа в сети и др.;
  • аппараты с большой степенью расширения и большой степенью сжатия. Такие аппараты обычно применяются в установках, где требуется поддерживать глубокий вакуум. Такие аппараты называют газоструйными или пароструйными эжекторами. Степень расширения рабочего потока в эжекторах также весьма значительная. Отношение давлений рабочего и инжектируемого потоков перед эжектором \(p_р/p_н\) также во много раз больше критического отношения давлений. Степень сжатия, создаваемая такими аппаратами, \(p_с/p_н\geq 2,5\);
  • аппараты с большой степенью расширения и малой степенью сжатия. Такие аппараты называют газоструйными или пароструйными инжекторами. Рабочей и инжектируемой средой в этих аппаратах является пар или газ. Степень расширения рабочего потока в инжекторах значительна, степень сжатия мала: \(p_с/p_н< 1,2\). Поскольку степень сжатия мала, упругие свойства инжектируемого и смешанного потоков проявляются слабо. Поэтому при расчете таких аппаратов в основных расчетных уравнениях могут не учитываться свойства сжимаемости инжектируемого и смешанного потоков. Равнофазные аппараты, в которых свойства сжимаемости рабочего и инжектируемого потоков не проявляются, называются струйными насосами.

Классификация в соответствии со свойствами рабочей среды

Рабочей и инжектируемой средой в струйных насосах может быть как жидкость, так и газ или пар, но в этом случае степень расширения рабочего тела должна быть значительного меньше критического отношения давления, а также должна быть мала степень сжатия (\(p_с/p_н\leq 1,2\)).

Разнофазные струйные аппараты в зависимости от упругих свойств взаимодействующих сред можно разделить на три типа:

  • аппараты с упругой рабочей и неупругой инжектируемой средами. К таким аппаратам относятся пневмотранспортные струйные аппараты (газ инжектирует сыпучее твердое тело или жидкость);
  • аппараты с неупругой рабочей и упругой инжектируемой средами, к которым относятся жидкостно-газовые эжекторы, например воздушные эжекторы;
  • аппараты, в которых обе среды неупругие. К ним относятся аппараты для гидротранспорта твердых сыпучих тел, в которых жидкость инжектирует сыпучее твердое тело.

Классификация по агрегатному состоянию рабочей среды

Струйные аппараты, в которых полностью изменяется агрегатное состояние одного из взаимодействующих потоков, можно разделить на два типа. К первому (1) типу относятся аппараты, в которых рабочей средой является пар, а инжектируемой – жидкость (парожидкостные инжекторы). Ко второму (2) типу относятся аппараты, в которых рабочей средой является жидкость, а инжектируемой – пар (струйные подогреватели).

Для наиболее наглядного представления изложенной классификации струйных аппаратов составлена табл. 2.1. В названии аппарата вначале, как правило, указывается вид рабочей среды (газ, пар, вода). Каждый из указанных типов струйных аппаратов имеет свои характерные особенности, которые должны быть учтены при его расчете. В то же время все струйные аппараты имеют много общего, поскольку процессы их работы описываются уравнениями, приведенными ранее.

Дальнейшее рассмотрение конструкций и методов расчетов будет преимущественно для газоструйные компрессоров и газоструйные эжекторов, поскольку аппараты такого типа являются более востребованными на практике.

Методы расчета равнофазных струйных аппаратов

При расчете струйных аппаратов определяющую роль имеют динамические свойства эжектирующей струи, которые, в отличии от свойств свободной струи, имеют более сложный характер. Динамические свойства свободной струи изучены и описаны достаточно подробно, имеются модели, описывающие закономерности ее развития.

Для свободной струи подсос окружающего газа происходит без каких-либо ограничений, а в эжекторах процесс перемешивания и подсос эжектируемой среды ограничен стенками камеры смешения. Чем больше диаметр смесительного участка эжектора превышает диаметр сопла, тем длиннее путь до места соприкосновения струи со стенками и тем большее количество эжектируемого газа подсасывается в струю.

С этой точки зрения в [4, стр. 6-16] приведены зависимости динамических напоров от расстояния на основном участке струи. Особенностью изложенного материала является возможность применения расчетных соотношений как для холодных, так и для горячих струй. Подробно изложена дифференциальная математическая модель эжекции и возможность численного определения количества эжектируемого в аппарате газа. Предложенная модель сопровождается примером расчета газоструйного воздушного эжектора с определение геометрических и гидравлических характеристик аппарата [4, стр. 26, 39]. Особое внимание удельно расчету сопла и проточной части, представлены номограммы для выбора оптимальных отношений геометрических параметров проточной части, построенные по полученным ВНИИМТ экспериментальным данным.

Упрощенный расчет без учета динамических свойств струи представлен в большом количестве источников [5, 6, 7, 8]. Рассмотрим наиболее востребованные методы расчета эжекторов.

Классический метод

Классический метод основан на решении трех уравнений: закон сохранения массы, закон сохранения энергии и уравнение количества движения [8, стр. 505, 548]. Основной задачей при расчете эжектора является определение параметров смеси на выходе из смесительной камеры по параметрам газов до смешения. После расчета с допущениями (приведенными в таблице) авторы некоторых методик производят уточнения, такие как учет сил трения, расчет камеры при смешении разнородных газов, расчет камеры смешения переменной площади.

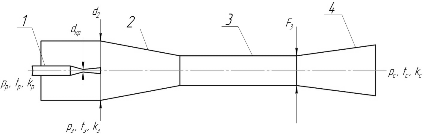
На рисунке 3.1 схематически изображен профиль проточной части эжектора и указаны основные обозначения:

Схема проточной части эжектора
Рисунок 3.1 – Схема проточной части эжектора

Индексы сечений: 1 – выходное сечение рабочего сопла, 2 – входное сечение камеры смешения, 3 – выходное сечение камеры смешения, кр – критическое сечение сопла;

Конструктивные элементы: 1 – сопло эжектирующего газа, 2 – сопло эжектируемого газа, 3 – камера смешения, 4 – диффузор;

Индексы потоков: р – рабочий (эжектирующий) поток перед соплом струйного аппарата; э – эжектируемый поток перед приемной камерой струйного аппарата; с – сжатый поток после диффузора струйного аппарата.

Обычно при расчете по классическому методу в начале записывают закон сохранения массы, далее на основании закона сохранении энергии получают:

$$G_3\cdot(c_{р_{3}}\cdot T_3+0.5\cdot w_3^2)=G_р\cdot (c_{р_{р}}\cdot T_р+0.5\cdot w_р^2)+G_э\cdot (c_{р_{э}}\cdot T_э+0.5\cdot w_э^2)+Q$$

где: \(G\) – расход газа; \(c_p\) – удельная теплоемкость газа; \(T\)– температура газа; \(w\) – скорость газа; \(Q\) – общее количество тепла, подводимое за 1 с к газу в смесительной камере путем теплопередачи через стенки камеры или выделяющееся вследствие химических реакций в потоке.

После преобразований, принимая, что \(c_p=const\), и вводя обозначения

$$(T_э^*)/(Т_р^* )=θ \qquad и \qquad Q/(c_p\cdot T_р^*\cdot G_р )=ϑ$$

где: \(ϑ\) – отношение подведенного секундного количества тепла к теплосодержанию секундного расхода эжектирующего газа, получают:

$$T_3^*/T_р^*=(1+u\cdotθ+ϑ)/(u+1)$$

где: \(u=G_2/G_1\)  – коэффициент эжекции.

Если при смешении газов не происходит горения или какой-либо иной реакции, сопровождающейся выделением или поглощением тепла, а теплопередачей через стенки смесительной камеры пренебречь, то величина относительного теплоподвода \(ϑ=0\). Тогда

$$T_3^*/T_р^*=(u\cdot θ+1)/(u+1)$$ $$a_{кр3}/a_{кр_р} =\sqrt{(u\cdot θ+1)/(u+1)}$$

Эти уравнения позволяют по заданным величинам определить первый искомый параметр смеси газов – температуру торможения (или критическую скорость звука) в выходном сечении смесительной камеры.

Составляют уравнение количества движения. Внешние силы, действующие на боковую поверхность потока со стороны стенок цилиндрической камеры смешения, не дают составляющих, параллельных оси камеры (если не учитывать трение о стенки камеры). В общем случае, когда во входном сечении камеры статические давления эжектирующего и эжектируемого газов различны (но постоянны по сечению каждого потока), уравнение количества движения записывают в виде:

$$G_3\cdot w_3-G_р\cdot w_р-G_э\cdot w_э=p_{р2}\cdot F_{р2} +p_{э2}\cdot F_{э2} -p_3\cdot F_3$$

Это уравнение преобразуют с учетом газодинамических функций и заменяют выражение для импульсов на

$$G\cdot w+p\cdot F=0.5\cdot (k+1)\cdot k\cdot G\cdot a_{кр}\cdot z(λ)$$

причем:

$$a_{кр}\cdot z(λ)=a_{кр}\cdot (λ+1/λ)$$

Разделив обе части преобразованного уравнения количества движения на \(G_р\cdot a_{кр_р}\) и заменив в полученном уравнении отношении расходов и критических скоростей безразмерными величинами

$$G_э/G_р =u$$ $$a_{кр_э}/a_{кр_р}=\sqrt{T_э^*/T_р^*}=\sqrt{\theta}$$

а также, используя уравнение закона сохранения массы и равенство

$$T_3^*/T_р^*=(1+u\cdot θ+ϑ)/(u+1)$$

получают основное уравнение эжекции:

$$\sqrt{(u+1)(1+u\cdot θ+ϑ)}\cdot z(λ_3)=z(λ_р)+u\cdot \sqrt{\theta }\cdot z(λ_э)$$

Для нахождения полного давления смеси \(p_3^*\) используют уравнение закона сохранения массы. После преобразований получают:

$$p_3^*/p_р^*=\sqrt{\frac{(u+1)(1+u\cdot θ+ϑ)}{1+F_э/F_р}}\cdot \frac{q(λ_р)}{q(λ_3)}$$

Коэффициент эжекции может быть выражен через параметры потоков во входном сечении камеры и не является независимой величиной. Подставляя в выражение для коэффициента эжекции величины расходов смешивающихся газов, получают:

$$u=G_р/G_э=\frac{p_э^*\cdot F_э\cdot q(λ_э)\sqrt{T_р^*}}{p_р^*\cdot F_р\cdot q(λ_р)\cdot \sqrt{T_э^*}}$$

Метод, основанный на уравнении импульсов

В [3, 9] для построения методики выводят расчетные уравнения для определения зависимости между геометрическими и газодинамическими параметрами в критическом сечении и на выходе из сопла, в начале и в конце камеры смешения, за диффузором. Целью метода, базирующегося на уравнении импульсов, является нахождение предельных коэффициентов эжекции. Данный метод позволяет определить конструктивные размеры основных элементов устройства и режимные параметры его эксплуатации. В расчетах [9] после определения предельных коэффициентов эжекции находятся достижимые коэффициенты эжекции, при учете геометрического параметра.

При расчете задаются значения коэффициента давления

$$α=\frac{lg(p_3)-lg(p_{кр})}{lg(p_3)-lg(p_{2}}$$

и относительного удельного расхода\(β(λ)\). Определяются критические скорости потоков по формуле:

$$a_{кр} =\sqrt{2\cdot k/(k+1)} \sqrt{RT^*}=\sqrt{2\cdot k/(k+1)} \sqrt{p^*v}$$

где: \(k\) – показатель адиабаты.

Для камеры смешения, состоящей из конической и цилиндрической частей, уравнение сохранения импульса записывают следующим образом

$$φ_2\cdot (G_p\cdot w_{p_2}+G_э\cdot w_{э_2} )-(G_р-G_э )\cdot w_3=p_3 \cdot F_3+\int_{F_2}^{F_3}p\cdot dF-p_{p_2}\cdot F_{p_2} -p_{э_2}\cdot F_{э_2}$$

где: \(\int_{F_2}^{F_3}p\cdot dF\) – интеграл импульса сил, обусловленный реакцией стенок конфузора.

При введении в уравнение сохранения импульса коэффициент скорости \(φ_2<1\) учитывается потеря количества движения в камере смешения из-за трения. Так как считается, что выходное сечение рабочего сопла совмещено с входным сечением камеры смешения то \(F_{р_2} =F_{р_1}\), и \(w_{р_2} =w_{р_1}\). При расчетном режиме работы аппарата  \(p_{р_2} =p_{р_1} =p_э\). В данном расчете начальными скоростями \(w_р\) и \(w_э\) рабочего и эжектируемого потоков в подводящих трубопроводах можно пренебречь из-за малости этих скоростей по сравнению со скоростями этих потоков в камере смешения. При введении с помощью коэффициента скорости поправки на неадиабатность процессов расширения и сжатия можно выразить скорость потока во входном сечении камеры смешения струйного аппарата следующим уравнением:

$$w_{р2}=φ_1\cdot a_{кр_p}\cdot λ_{p_2}=φ_1\cdot a_{кр_p}\cdot λ_{p_э}$$

При \(p_{р_2}=p_э\)

$$π(λ)_{р_2}=p_{р_2}/p_р=p_э/p_р=π(λ)_{р_э}$$

откуда

$$λ_{р_2}=λ_{р_э}$$

Далее находятся соответствующие значения \(λ_{р_э}\) и \(q(λ)_{р_э}\) по газодинамическим таблицам при известном \(k\).

Задается значение\(λ_{с_3} =1\). Затем по газодинамическим таблицам при известном \(λ_{с_3}\) и \(k\) находятся соответствующие значения \(q(λ)_{с_3} \) и \(π(λ)_{с_3}\).

Определяется коэффициент эжекции при предельном режиме \(u_{пр}\) по формуле:

$$u_{пр}=\frac{μ\cdot k_э/k_c \cdot π(λ)_{кр_э}/π(λ)_{кр_с}\cdot p_э/p_c\cdot 1/q(λ)_{c_3} \cdot a_{кр_с}/a_{кр_э}-a_{кр_р}/a_{кр_э}\cdot k_э/k_р\cdot π(λ)_{кр_э}/π(λ)_{кр_р}\cdot p_э/p_р \cdot 1/q(λ)_{p_э}}{1 - \mu \cdot a_{кр_с}/a_{кр_э}\cdot k_э/k_с\cdot π(λ)_{кр_э}/π(λ)_{кр_с}\cdot p_э/p_с \cdot 1/q(λ)_{с_3}}$$

где: \(μ\) – коэффициент, определяющий величину \(u_{пр}\).

Определяется \(q(λ)_{и_2}\)по формуле, приведенной ниже, и находятся соответствующие значения \(λ_{и_2}\)  и \(π(λ)_{и_2}\) по газодинамическим таблицам при известном \(k\):

$$q(\lambda)_{и_2}=\frac{u}{\beta(\lambda)\cdot (1+u)\cdot a_{кр_с}/a_{кр_и}\cdot k_и/k_с\cdot π(λ)_{кр_и}/π(λ)_{кр_с}\cdot p_и/p_с \cdot 1/q(λ)_{с_3} - a_{кр_р}/a_{кр_и}\cdot k_и/k_р\cdot π(λ)_{кр_и}/π(λ)_{кр_р}\cdot p_и/p_р \cdot 1/q(λ)_{p_и}}$$

Далее по достаточно сложным зависимостям при помощи давлений, критических и приведенных массовых и адиабатных скоростей, показателей адиабаты и относительных удельных расходов определяется коэффициент инжекции \(n\).

После этого сравниваются полученные значения \(u\) и \(u_{пр}\) , при  \(u>u_{пр}\)  уменьшается \(λ_{с_3}\)  с шагом \(0.1\), и расчет повторяется до тех пор, когда выполнится неравенство \(u < u_{пр}\) с заданной степенью точности.

Если \(δu\) меньше заданной степени точности расчет считается законченным, в противном случае шаг уменьшается в 10 раз, и заново рассчитывается последний интервал по \(λ_{c3}\).

Специальный метод расчета

Также для инженерных расчетов применяется уникальный метод расчета, в котором ищется оптимальная лямбда, при которой степень повышения полного давления ε достигала бы максимума [10, 11, 12]. Рассмотрены критические режимы течения газов в эжекторе, показано, каким должен быть газовый эжектор с цилиндрической камерой смешения, оптимальный по схеме и режимно-геометрическим параметрам.

Получены зависимости, связывающие степень повышения полного давления ε в эжекторе с приведенной скоростью высоконапорного газа \(λ_э\) при различных значениях коэффициента эжекции \(u\). Особенностью этих зависимостей является наличие максимума на кривых \(ε(λ_э)\). Эти зависимости получены из уравнений сохранения, составленных для сечений входа и выхода из эжектора при условии постоянства характерного отношения полных давлений в потоках высоконапорного (сверхзвукового) и низконапорного (дозвукового) газов:

$$σ=\frac{π(λ_р)\cdot p_э}{π(λ_э)\cdot p_р}=const$$

Таким образом предложена сложная система уравнений, при решении которой определяются основные параметры эжектора.  Заметим, что в приведенные выражения входит не просто величина \(λ_э\), а величина\(λ_{э_{опт}}\), то есть предполагается, что определяемое значение \(ε\), соответствующее величине\(λ_{э_{опт}}\), будет максимальным.

В выражение для степени повышения полного давления ε входят четыре ключевых параметра \(λ_э\), \(σ\), \(λ_3\) и \(χ\), где \(χ\) – геометрический параметр. В свою очередь, характерное отношение полных давлений \(σ\) задается заранее и считается неизменным в процессе расчета эжектора, а параметры \(λ_3\) и \(χ\) могут быть выражены также через величины \(λ_э\) и \(σ\). Отсюда следует, что степень повышения полного давления \(ε\), если не принимать во внимание разного рода коэффициенты потерь, представляется как функция двух параметров:

$$ε=f(σ,λ_э)$$

При решении системы уравнений, записанной выше, можно однозначно определить все искомые параметры: \(λ_{э_{опт}}\), \(λ_э\), \(λ_3\), \(χ\) и \(ε_{max}\).

Анализ методов расчета струйных аппаратов

В классическом методе искомые параметры находят перебором входных параметров, в методе, основанном на уравнении момента импульса, также перебором находят наибольшее значение коэффициента эжекции \(u\), специальный метод расчета позволяет найти оптимальное значение коэффициента эжекции, при котором достигается максимум степени повышения полного давления.

В классическом методе схема процесса смешения газов в эжекторе при дозвуковых скоростях принципиально ничем не отличается от схемы процесса смешения несжимаемых жидкостей в жидкостном эжекторе. Даже при больших докритических отношениях давлений не только качественные закономерности, но и многие количественные зависимости между параметрами газового эжектора практически не отличаются от соответствующих параметров жидкостного эжектора, что позволяет использовать методику для сред газ-газ, жидкость-жидкость, газ-жидкость.

Классический метод более универсален, так как в нем осуществляется перебор входных параметров, однако метод, основанный на уравнении импульсов, позволяет установить предельное значение, поэтому есть необходимость с помощью итерационного перебора осуществлять поиск околопредельных параметров, обеспечивающих максимум коэффициента эжекции. В методе, основанном на уравнении импульсов, определяемые коэффициенты эжекции несколько занижены относительно реальных, что приводит к увеличению расхода эжектируемого рабочей среды.

При расчете по данной методике парового эжектора по данным В.М. Рамма [13], запас по расходу пара составляет 20...30 %, но при этом обеспечивается более надежное функционирование эжекторов в производственных условиях в более узкой задаче. Этот метод позволяет найти не только предельный коэффициент эжекции, но и допустимые коэффициенты инжекции. Последний специальный метод эффективен при постановке задачи по поиску оптимальной степени повышения давления в эжекторе. В таблице 3.1 приведены основные допущения по каждому методу и особенности расчета.

Таблица 3.1 Сравнение различных методов расчета эжекторов
Классический метод [8] Метод, основанный на уравнении импульсов [3, 9] Уникальный метод расчета [10, 11, 12]
1. Допущение об одинаковом химическом составе, показателе адиабаты и одинаковой универсальной газовой постоянной.
2. В уравнении количества движения можно учесть сопротивление камеры смешения и проекцию на ось камеры реактивной силы, действующей на стенки камеры смешения.
3. Можно учесть влияние пограничного слоя.
4. Можно учесть потери в диффузоре при восстановлении давления.
1. Сечение в плоскости выходного сечения сопла настолько велико, что скорость эжектируемого рабочего тела в этом сечении близка к нулю. Количеством движения эжектируемого рабочего тела по сравнению с количеством движения рабочего пара можно пренебречь.
2. Сечение приемной камеры в плоскости выходного сечения рабочего сопла значительно превышает сечение цилиндрической камеры смешения. Снижение давления происходит в основном в конце входного участка камеры смешения.
3. Для поиска \(u_{пр}\) нужно учесть, что перепад давлений обеспечивает запирание \(λ_{с_3}=1\) в выходном сечении камеры смешения, при этом искомое n меньше \(u_{пр}\).
1. Степень повышения полного давления \(ε\) без учета коэффициентов потерь, представляется как функция \(ε=f(σ,λ_э)\).
2. Степень повышения полного давления достигает максимальной величины ε_max, а значение \(λ_э\) становится оптимальным \(λ_{э_{опт}}\), при изменении приведенной скорости \(λ_р\) низконапорного газа.

Подобный сравнительный анализ и составление наиболее универсального и достаточно точного алгоритма расчета представлено в [12]. В статье рассматривается возможность и пригодность газовой теории эжекторов и вытекающей из нее теории критических режимов работы эжекторов. Предложенная методика расчета газовых эжекторов является универсальной и может быть использована при создании эжекторных систем для объектов как общепромышленного, так и специального назначения. В отличие от предшествующих методик, она не содержит каких-либо допущений и позволяет с учетом зависимости характерного отношения полных давлений от приведенных скоростей и различия статических давлений в высоконапорном и низконапорном газах однозначно определять режимно-геометрические параметры оптимального эжектора, обеспечивающие необходимую степень повышения полного давления в любом диапазоне изменения коэффициента эжекции.

Упрощенный алгоритм расчета эжектора с учетом коэффициента сжимаемости представлен в [14]. Метод расчета и оптимизации эжектора изложен для одномерного случая. При этом он хорошо отработан и дает вполне удовлетворительные совпадения с результатами экспериментов. Простота и надежность этого алгоритма обусловили его широкое применение в инженерной практике, когда важно быстро получить ориентировочные результаты для оценки возможности реализации системы со струйным аппаратом.

Наиболее сложным вопросом остается работа газового эжектора при неодинаковых физических параметрах смешиваемых газов, алгоритм расчета которого изложен в [15]. Приведены уравнения эжекции при неодинаковых значениях показателя адиабаты, изобарной теплоемкости и температуры торможения смешиваемых газов. Показано, что при сохранении неизменными приведенных скоростей и давлений на входе в эжектор величина коэффициента эжекции изменяется обратно пропорционально параметрам, связывающим температуру и теплоемкость. Приведены результаты экспериментального исследования сверхзвукового газового эжектора при постоянной температуре торможения эжектирующего газа и различных значения температуры торможения эжектируемого газа. Установлено, что при температурах выше 1500 K характеристики эжекторов резко ухудшаются и не совпадают с теоретическими расчетам. Показано, что впрыск воды в струю низконапорного газа может повысить характеристики эжектора и привести их в соответствие с расчетными зависимостями.

На практике иногда более целесообразным может быть применение не одного струйного аппарата, а нескольких, объединенных последовательно или параллельно. В [16] представлены результата разработки методики расчета оптимального распределения высоконапорного газа между ступенями многоступенчатого газового эжектора. Выявлено влияние основных параметров эжектора на это распределение и даны зависимости, позволяющие непосредственно определять долю высоконапорного газа, приходящуюся на каждую ступень. Разработанные методы расчета ступенчатого газового эжектора позволяют оптимизировать эжектор по распределению высоконапорного газа между ступенями. Установлено, что характерное отношение и показатель адиабаты низконапорного газа практически не влияют на величину массовой доли высоконапорного газа, а наибольшее влияние на этот параметр оказывает коэффициент эжекции.

Конструкции равнофазных струйных аппаратов

В настоящее время струйные аппараты используются в различных отраслях энергетической и химической промышленности, поэтому существует большое количество вариантов конструкций в большей или меньшей степени, отвечающих требованиям технологичности изготовления элементов конструкции и сборки аппарата.

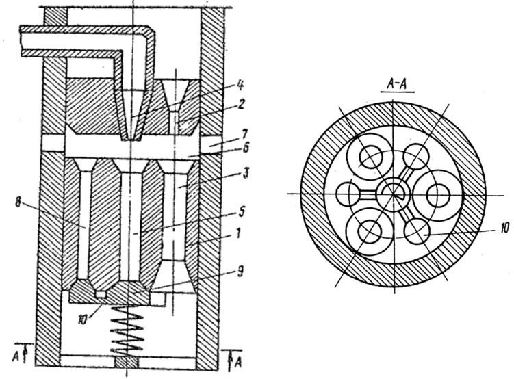
Наиболее удачная с точки зрения технологичности конструкция представлена на рисунке 4.1 [17].

Принципиальная конструкция газового эжектора
Рисунок 4.1 – Принципиальная конструкция газового эжектора

Обозначение элементов на рисунке 4.1: 1 – корпус; 2 – кольцевая форкамера рабочего газа; 3 – форкамера инжектируемого газа; 4 – патрубок для подвода рабочего газа; 5 – патрубок для подвода инжектируемого газа; 6 – патрубок для отвода смесевого потока; 7 – накидная гайка для фиксации крышки; 8 – съемная крышка; 9 – сопло; 10 – цилиндрическая камера смешения; 11 – конический диффузор; 12 – полая втулка для крепления сопла; 13 – продольные щели в полой втулки; 14 – поперечная перегородка; 15 – обтекатель; 16 – входная часть конического сопла Лаваля; 17 – выходной участок сопла Лаваля; 18 – кольцевая впадина; 19 – кольцевой выступ; 20 – кольцевая впадина; 21 – кольцевой выступ; 22 – зазор между камерой смешения соплом; 23 – прокладка регулирующая; 24 – радиальный штифт; 25 – кольцевой паз камеры смешения; 26 – отверстия для съемника; 27 – полости для размещения штифтов; 28 – пробки; 29 – кольцевая канавка; 30 – каналы в сопле.

Особенность представленной конструкции заключается в возможности быстрой замены сопла 9 для оптимизации КПД эжектора. Решена задача по облегчению сборки и наладки оборудования.

Известно, что для решения технологических задач производства иногда требуется использования нескольких ступеней струйных аппаратов с последовательным соединением. Недостатком такого решения является увеличение массогабаритных характеристик многоступенчатого аппарата. Для исключения указанного недостатка в [18] предлагается к рассмотрению схема организации конструкции, представленная на рисунке 4.2.

Схема многоступенчатого эжектора с общим корпусом
Рисунок 4.2 – Схема многоступенчатого эжектора с общим корпусом

Автором предлагается заменить дифференцированные ступени подвода рабочего газа в сопла из общей кольцевой камеры, образованной корпусом, на сопла в форме цилиндрических отверстий, расположенных по спирали, как показано на рисунок 4.3.

Многоступенчатый эжектор с соплами, расположенными по спирали
Рисунок 4.3 – Многоступенчатый эжектор с соплами, расположенными по спирали

Обозначения элементов на рисунке 4.3: 1 – камеры смешения; 2 – форкамера высоконапорного газа; 3 – активные сопла; 4 – сужающиеся сопло; 5 – диффузор.

В [18] предложены зависимости для определения оптимальной степени сжатия в зависимости от геометрических параметров струйного аппарата. Проведен сравнительный анализ эффективности предложенного спирального эжектора с эжекторами других типов, в том числе с одноступенчатым. Установлено, что выигрыш в полезном действии у предложенной конструкции составляет 20...30 % при значительных конструктивных преимуществах.

Альтернативный вариант организации сопел для однокорпусного многоступенчатого эжектора предложен в [19]. Предложенная конструкция содержит сопла, выполненные в форме кольцевых тороидальных каналов. Благодаря такому подходу возможно обеспечивать требуемые степени сжатия без необходимости достижения сверхзвуковых скоростей рабочего потока. Недостатком конструкции является повышенная слаженность изготовления тороидальных каналов и последующая сборка аппарата с обеспечением высокой степени соосности для точного позиционирования каналов в осевом и радиальном направлении.

Схема многоступенчатого эжектора с тороидальными соплами
Рисунок 4.3 – Схема многоступенчатого эжектора с тороидальными соплами

Обозначения элементов на рисунке 4.3: 1 – входной патрубок; 2 – входное сечение входного патрубка; 3 – выходное сечение входного патрубка; 4 – тороидальный сосуд; 5 – рабочая кромка кольцевого сопла; 6 – рабочая кромка кольцевого сопла; 7 – кольцевое сопло; 8 – выходной патрубок с конической внутренней поверхностью; 9 – сопло штуцера подачи активной струи; 10 – штуцер подачи активной струи; 12 – выходное сечение последнего патрубка камеры.

Для высокотемпературных струй (порядка 200...450 ºС) возникает проблема неполного перемешивания рабочего и инжектируемого потока, в результате чего температура стенки аппарата остается очень высокой. В свою очередь повышенная температура сжатия приводит к снижению эффективности эжектора. Для решения этой проблемы было предложено во внутреннюю полость камеры смешения установить пилон, который обеспечивает циркуляцию в камере смешения и как следствие способствует снижению температуры стенки аппарата. Исследование аппаратов коаксиальной конструкции представлено в [20]. Проведено исследование влияния формы пилонов и сопел активного потока на температуры на срезе диффузора по радиусу. Моделирование процессов проводилось методом конечных разностей для двухмерной и трехмерной задачи, а для обоснования результатов расчета был проведен натурный опыт.

Схема предлагаемого эжектора представлена на рисунке 4.3, формы пилонов на рисунке 4.4, эффект снижения температуры стенки за счет лучшей перемешиваемости рабочего и инжектируемого потоков показан на рисунке 4.5.

Схема эжектора с центральным телом – пилоном
Рисунок 4.3 – Схема эжектора с центральным телом – пилоном
Формы пилонов: а – круглая; б – эллиптическая; в – вытянутая
Рисунок 4.4 – Формы пилонов: а – круглая; б – эллиптическая; в – вытянутая
График распределения температуры на срезе диффузора по радиусу
Рисунок 4.5 – График распределения температуры на срезе диффузора по радиусу: ▲ – без центрального тела; ◆ - с центральным телом

Из анализа графика на рисунке 4.5 следует, что при оптимальной геометрии эжектора возможно обеспечить снижение температуры стенки аппарата на 200 ºС при температуре рабочего потока 360 ºС и на 250 ºС при температуре рабочего потока 450 ºС.

Для регулирования расходов рабочей и инжектируемой среды в [21] предложена конструкция регулирующего устройства, которая представлена на рисунке 4.6.

Устройство для регулирования расходов активной и пассивной сред в эжекторе
Рисунок 4.7 – Устройство для регулирования расходов активной и пассивной сред в эжекторе

Обозначение элементов на рисунке 4.7: 1 – корпус; 2 – осевой канал подвода активной среды; 3 – камера смешения; 4 – радиальный патрубок; 5 – поршень; 6 – сквозные каналы; 7 – полый шток; 8 – подвижный стержень; 9 – регулировочные иглы; 10 – оси; 11 – пластины; 12 – упругие элементы; 13 – упоры.

Благодаря конструкции рабочего органа, выполненного в виде вдвигаемых в камеры смешения попарно соединенных пластин, установленных на осях с возможностью взаимного поворота, данное устройство позволяет значительно расширить диапазон регулирования расходов активной и пассивной сред в эжекторе.

Для повышения КПД эжектора была предложена особая конструкция сопла [22], которая обеспечивает более полную передачу энергии от активной среды к пассивной. Эффект достигается за счет специального расположения осей симметрии пассивного сопла под углом 40º...80º, а расстояние \(l\) от среза активного сопла 1 до камеры смешения составляет порядка 0,5...0,8 диаметра \(D\). Схема такого эжектора приведена на рисунке 4.8.

Схема эжектора с особым соплом
Рисунок 4.8 – Схема эжектора с особым соплом

Обозначения элементов на рисунке 4.8: 1 – активное сопло; 2 – кольцевой выступ; 3 – соосная цилиндрическая камера смешения; 4 – кольцевое пассивное сопло; 5 – диффузор.

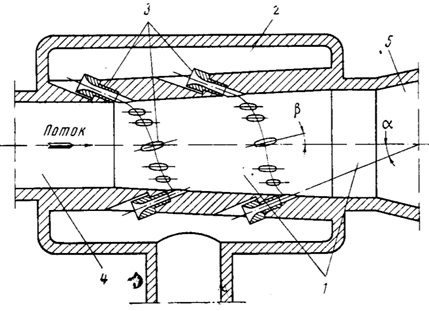
 Для повышения эффективности эжекторов возможно не только модернизировать форму активного сопла, но и организовать дополнительную циркуляцию смесевого потока. В [23] представлен вариант эжектора с циркуляцией смесевого потока, схема которого представлена на рисунке 4.9.

Схема газового эжектора с циркуляцией смесевого потока
Рисунок 4.9 – Схема газового эжектора с циркуляцией смесевого потока

Обозначение элементов на рисунке 4.9: 1 – сопло; 2 – камера смешения; 3 – диффузор; 4 – вспомогательные сопла.

За счет вспомогательных сопел 4, имеющих срезы, расположенные в плоскости среза активного сопла, подключенных к камере смешения и расположенных к оси аппарата под углом 20º...40º, повышается скорость на входе в камеру смешения и, как следствие, КПД струйного аппарата.

Помимо вопроса эффективности активное внимание уделяется вопросам надежности струйных аппаратов, особенно при повышенных температурах рабочей среды. В [23] представлена конструкция многосоплового эжектора, изображенная на рисунке 4.10.

Схема многосоплового эжектора
Рисунок 4.10 – Схема многосоплового эжектора

Обозначение элементов на рисунке 4.10: 1 – диффузор; 2 – активные сопла; 3 – камеры смешения; 4 – центральное сопло; 5 – автономная камера смешения; 6 – общая камера подсоса; 7 – каналы подачи пассивной среды; 8 – циркуляционные каналы; 9 – подпружиненный затвор; 10 – клапаны.

Повышение надежности аппарата достигается за счет очистки камеры подсоса от твердых и жидких осадков инжектируемой среды. Кроме того, за счет развитой поверхности каналов происходит повышение эффективности теплообмена с корпусом аппарата и повышение эффективности сжатия впоследствии.

Список источников

  1. В.Г. Цегельский. Струйные аппараты. – Москва : Издательство МГТУ им. Н.Э. Баумана, 2017. – 573, [3] с.: ил. ISBN 978-5-7038-4666-7.
  2. А.Н. Антонов, А.М. Архаров, И.А. Архаров и др. Машины низкотемпературной техники. Криогенные машины и инструменты: учебник для вузов. Под общ. ред. А.М. Архарова и И.К. Буткевича. – 2-е изд., испр. – Москва: Издательство МГТУ им. Н.Э. Баумана, 2015. – 533, [3] с.: ил. ISBN 978-5-7038-3931-7.
  3. Е.Я. Соколов, Н.М Зингер. Струйные аппараты. – 3-е изд., перераб. –М:. Энергоатомиздат, 1989. – 352 с.: ил. ISBN 5-283-00079-6.
  4. В.А. Успенский. Струйные вакуумные насосы. – Москва. М.: «Машиностроение», 1973. 144 с.: ил.
  5. Ю.Н. Васильев. Теория сверхзвукового газового эжектора с цилиндрической камерой смешения // Лопаточные машины и струйные аппараты: Сб. ст. Вып. 2. М.: Машиностроение, 1967.
  6. С.А. Христианович. О расчете эжектора // Механика сплошной среды. Сб. ст. М.: Наука, 1981.
  7. С.А. Христианович. Применение эжекторов в газосборных сетях / М.Д. Миллионщиков, Г.М. Рябинков, Ф.А. Требин //Механика сплошной среды. Сб. ст. М.: Наука, 1981.
  8. Г.И. Абрамович. Прикладная газовая динамика/ Г.И. Абрамович. –М.: Наука, 1991.– 600 с.
  9. С.Р. Рузанов. Расчет инжектора для приготовления сортировки в производстве водки // Научное обозрение. Технические науки. – 2014. – № 2. – С. 135-136.
  10. Ю.Н. Васильев. Теория газового эжектора с цилиндрической камерой смешения / Васильев Ю.Н. // М.: Машиностроение, 1971. – 24 с.
  11. Александров В.Ю., Климовский К.К. Оптимальные эжекторы (теория и расчет) /Александров В.Ю., Климовский К.К.  – М.: Машиностроение, 2012. – 136 с.
  12. В.Ю. Александров, К.К. Климовский. Методика расчета газовых эжекторов // Теплоэнергетика. 2009. № 8. С. 31—33. ISSN: 0040-3636.
  13. В.М. Рамм. Пароструйные вакуум-эжекционные установки / В.М. Рамм, В.А. Успенский, Ю.М. Кузнецов // М.: Машиностроение, 1973. - 85 с.
  14. В.И. Алферов, Е.Г, Зайцев, Рябинков Г.М. Об инженерном методе расчета эжектора с учетом реальных свойств газа // Ученые записки ЦАГИ. 1993. Т.24, №4, стр. 107-112. ISSN: 0321-3439.
  15. Ф.А. Куканов, И.И. Межирова. Работа газового эжектора при неодинаковых физических параметрах смешиваемых газов // Ученые записки ЦАГИ. 1970. Т.1, №4, стр. 103-108. ISSN: 0321-3439.
  16. В.Ю. Александров, К.К. Климовский. Оптимизация многоступенчатых газовых эжекторов // Теплоэнергетика. 2009. № 9, стр. 68-72. ISSN: 0040-3636.
  17. Патент РФ № 2015106389/06, 26.02.2015. ГАЗОВЫЙ ЭЖЕКТОР // Патент России № 2584767. 2016. / Л.М. Курбатов, И.Ф. Минникаев, П.А. Крюков [и др.].
  18. Ю.К. Аркадов. Компактный газовый эжектор большой степени сжатия с расположением сопл по спирали // Ученые записки ЦАГИ. 1984. Т.15, №6, стр. 35-42. ISSN: 0321-3439.
  19. Патент РФ № 2019132573, 15.10.2019. Многоступенчатая рабочая камера эжектора и эжектор (варианты) // Патент России № 2 736 983. 2020. / А.Ф. Маковецкий.
  20. В.А. Сыченков, В.И. Панченко, Р.Р. Халиулин. Исследование коаксиального газового эжектора // Известия высших учебных заведений. Авиационная техника. 2014. №2, стр. 24-24. ISSN: 0579-2975.
  21. Патент СССР № 3637369/25-06, 24.08.83. Устройство для регулирования расхода активной и пассивной сред // Патент СССР SU1150412A. 1983. / Ф.Ф. Брауэман, Г.П. Клюшин.
  22. Патент СССР № 3693231/25-06, 16.01.84. Газовый эжектор // Патент СССР SU1216454A. 1986. /С.И. Кандыба, С.А. Шоно, М.Д. Гридасов, Е.П. Шульгин.
  23. Патент СССР № 3964582/25-06, 09.10.85. Многосопловой эжектор // Патент СССР SU12164541383008A1. 1988. /А.М. Абдулзаде, Ш.Х. Джанмамедов, Э.С. Иззатдуст [и др.].
Поддержать проект

Если информация на сайте оказалась полезна, поддержите проект материально. Все средства, полученные в виде добровольных пожертвований, используются для развития экосистемы.